Lightning Connector To Usb Wiring Diagram

Apple Lightning Connector Pinout Diagram Pinouts Ru Lightning Apple Connector

Apple Lightning Connector Pinout Diagram Pinouts Ru Lightning Apple Connector

Systems Analysis Of The Apple Lightning To Usb Cable Techinsights

Systems Analysis Of The Apple Lightning To Usb Cable Techinsights

Making A Diy Usb C To Lightning Cable Youtube

Making A Diy Usb C To Lightning Cable Youtube

Are Pins 1 5 On The Apple S Lightning Connector Used To Pass The Dc Voltage To Charge Iphone Ipad Quora

Are Pins 1 5 On The Apple S Lightning Connector Used To Pass The Dc Voltage To Charge Iphone Ipad Quora

Iphone Usb Cable Wiringram Of For Plug Cord Images Headphones In Headphone Wiring Diagram Usb Cable Usb Wire

Iphone Usb Cable Wiringram Of For Plug Cord Images Headphones In Headphone Wiring Diagram Usb Cable Usb Wire

Otg Usb Cable Wiring Diagram Usb Power Wiring Diagram Obd2 To Usb Cable Wiring Diagram Usb 2 0 Cable Diagram Powered Usb Hub Wiring Diagr Otg Usb Usb Cable

Otg Usb Cable Wiring Diagram Usb Power Wiring Diagram Obd2 To Usb Cable Wiring Diagram Usb 2 0 Cable Diagram Powered Usb Hub Wiring Diagr Otg Usb Usb Cable

Otg Usb Cable Wiring Diagram Usb Power Wiring Diagram Obd2 To Usb Cable Wiring Diagram Usb 2 0 Cable Diagram Powered Usb Hub Wiring Diagr Otg Usb Usb Cable

Systems Analysis Of The Apple Lightning To Usb Cable Techinsights

Systems Analysis Of The Apple Lightning To Usb Cable Techinsights

53f9b57 Iphone Usb Cable Wiring Diagram Plug Wiring Library

53f9b57 Iphone Usb Cable Wiring Diagram Plug Wiring Library

D20a58a Usb To Lightning Wiring Diagram Wiring Library

D20a58a Usb To Lightning Wiring Diagram Wiring Library

Apple Lightning Connector Pinout Diagram Pinouts Ru

Apple Lightning Connector Pinout Diagram Pinouts Ru

Making Your Own Custom Usb Cables

Making Your Own Custom Usb Cables

Iclever Iphone Charger Cables 6ft 1 8m Premium 8 Pin Amazon Co Uk Electronics

Iclever Iphone Charger Cables 6ft 1 8m Premium 8 Pin Amazon Co Uk Electronics

Circuitmix On Instagram Lightning Cable Pin Out Save Share It Please Follow Us Circuit Lightning Cable Iphone Lightning Cable Smartphone Repair

Circuitmix On Instagram Lightning Cable Pin Out Save Share It Please Follow Us Circuit Lightning Cable Iphone Lightning Cable Smartphone Repair

Systems Analysis Of The Apple Lightning To Usb Cable Techinsights

Systems Analysis Of The Apple Lightning To Usb Cable Techinsights

152 3 5mm Auxiliary To Usb Wiring Diagram Wiring Library

152 3 5mm Auxiliary To Usb Wiring Diagram Wiring Library

Sc 7009 Iphone Microphone Cable Wiring Diagram Furthermore Diagram Of Ipad Usb Download Diagram

Sc 7009 Iphone Microphone Cable Wiring Diagram Furthermore Diagram Of Ipad Usb Download Diagram

Te 4386 Iphone Lighting Cable Wire Diagram Along With Iphone 5 Charger Cable Wiring Diagram

Te 4386 Iphone Lighting Cable Wire Diagram Along With Iphone 5 Charger Cable Wiring Diagram

Lightning To Usb Cable Wiring Diagram Color Codes Usb And Wire On Pinterest From Into The Optocoupler To Go To The Solenoid Valves Type C Usb Charger Schematic Wiring Diagram Or Schematic

Lightning To Usb Cable Wiring Diagram Color Codes Usb And Wire On Pinterest From Into The Optocoupler To Go To The Solenoid Valves Type C Usb Charger Schematic Wiring Diagram Or Schematic

Apple Lightning Cable Patent Found Pinouts And Voltages And Whatnot Inside

Apple Lightning Cable Patent Found Pinouts And Voltages And Whatnot Inside

Otg Usb Cable Wiring Diagram Usb To Rs232 Cable Wiring Diagram Usb Adapter Wiring Diagram Usb 2 0 Cable Diagram Iphone 5 Lightning To U Usb Cable Cable Usb

Otg Usb Cable Wiring Diagram Usb To Rs232 Cable Wiring Diagram Usb Adapter Wiring Diagram Usb 2 0 Cable Diagram Iphone 5 Lightning To U Usb Cable Cable Usb

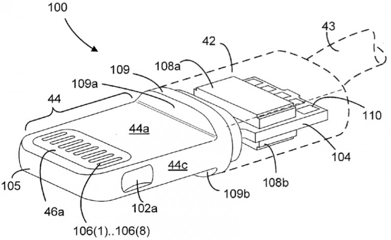
News Av Star

News Av Star

Teardown Revives Hopes That Lightning Might Be Usb 3 0 Compatible Ars Technica

Teardown Revives Hopes That Lightning Might Be Usb 3 0 Compatible Ars Technica

Anker Is Making Usb C To Lightning Cables The Verge

Anker Is Making Usb C To Lightning Cables The Verge

Dcaba Usb To Lightning Cable Wiring Diagram Wiring Library

Dcaba Usb To Lightning Cable Wiring Diagram Wiring Library

Https Encrypted Tbn0 Gstatic Com Images Q Tbn 3aand9gctostupjexwnvwnvabtqqkmofmx4lye S07yv42tk6z0n Tric7 Usqp Cau

Https Encrypted Tbn0 Gstatic Com Images Q Tbn 3aand9gctostupjexwnvwnvabtqqkmofmx4lye S07yv42tk6z0n Tric7 Usqp Cau

Iphone 5 Cord Wiring Diagram Wiring Diagram

Iphone 5 Cord Wiring Diagram Wiring Diagram

Usb Wiring Diagram Cable Wiring Library

Usb Wiring Diagram Cable Wiring Library

Usb C Vs Lightning

Usb C Vs Lightning

Iphone Lightning Cable Wires Diagram Diagram Base Website Wires Diagram Newsvenndiagram Museumreloaded It

Iphone Lightning Cable Wires Diagram Diagram Base Website Wires Diagram Newsvenndiagram Museumreloaded It

Fs 6880 Apples Usb Wire Diagram Wiring Diagram

Fs 6880 Apples Usb Wire Diagram Wiring Diagram

Lumsing Nylon Braided Lightning To Usb Cable Apple Mfi Amazon Co Uk Electronics

Lumsing Nylon Braided Lightning To Usb Cable Apple Mfi Amazon Co Uk Electronics

Eea Iphone 5 Lightning To Usb Cable Wiring Diagram Wiring Library

Eea Iphone 5 Lightning To Usb Cable Wiring Diagram Wiring Library

Micro Usb Usb Type C Apple Lightning Everything You Need To Know Pitaka

Micro Usb Usb Type C Apple Lightning Everything You Need To Know Pitaka

709fd Wiring Diagram Apple Usb Cable Apple Iphone Lightning Cord Ebook Databases

709fd Wiring Diagram Apple Usb Cable Apple Iphone Lightning Cord Ebook Databases

Pinout Lightning Cable Iphone Lightning Cover Skins

Pinout Lightning Cable Iphone Lightning Cover Skins

Samsung Galaxy Tab 2 Pinout Wiring Diagram Usb Electrical Wires Cable Png 800x500px Samsung Galaxy

Samsung Galaxy Tab 2 Pinout Wiring Diagram Usb Electrical Wires Cable Png 800x500px Samsung Galaxy

Wiring Usb C To Planck Pcb Olkb

Wiring Usb C To Planck Pcb Olkb

63de6c4 Usb To Lightning Cable Wiring Diagram Wiring Library

63de6c4 Usb To Lightning Cable Wiring Diagram Wiring Library

Match Ports Connectors For Iphone Other Devices

Match Ports Connectors For Iphone Other Devices

Kk 7912 Iphone Usb Charger Wiring Diagram Iphone Free Engine Image For User Free Diagram

Kk 7912 Iphone Usb Charger Wiring Diagram Iphone Free Engine Image For User Free Diagram

Lightning Adapter Pinout Female Together With Apple To Usb Iphone Lightning Connector Pinout Iphone 5 Lightning Connector To Pinouts A Engineering Radio Why You Should Never Buy Imitation Cables Mac Plus Sg

Lightning Adapter Pinout Female Together With Apple To Usb Iphone Lightning Connector Pinout Iphone 5 Lightning Connector To Pinouts A Engineering Radio Why You Should Never Buy Imitation Cables Mac Plus Sg

Iphone Screen To Big Hdtv Screen Usb Lightning To Hdmi Digital Adapter Urban Gear Tech

Iphone Screen To Big Hdtv Screen Usb Lightning To Hdmi Digital Adapter Urban Gear Tech

Ipod Iphone And Ipad Accessories

Ipod Iphone And Ipad Accessories

Usb Wikipedia

Usb Wikipedia

Bd7e2 Pin Iphone Cable Wiring Diagram Wiring Library

Bd7e2 Pin Iphone Cable Wiring Diagram Wiring Library

Lx 1104 Charger Circuit Diagram On Iphone 6 Charger Wiring Diagram Get Free Wiring Diagram

Lx 1104 Charger Circuit Diagram On Iphone 6 Charger Wiring Diagram Get Free Wiring Diagram

Lightning Cable Pinout Apple Iphone 8 Pin Lightning Cable Wiring Diagram In Addition Kenwood 8 One Reason For Apple 39 S Overpriced Cables The Lightning Digital Av What 39 S Your Port

Lightning Cable Pinout Apple Iphone 8 Pin Lightning Cable Wiring Diagram In Addition Kenwood 8 One Reason For Apple 39 S Overpriced Cables The Lightning Digital Av What 39 S Your Port

76dc627 Usb 2 Pin Wiring Diagram Wiring Library

76dc627 Usb 2 Pin Wiring Diagram Wiring Library

Yv 7069 Iphone 5 Lightning Cable Wiring Diagram Schematic Wiring

Yv 7069 Iphone 5 Lightning Cable Wiring Diagram Schematic Wiring

Https Encrypted Tbn0 Gstatic Com Images Q Tbn 3aand9gcrrycqrez Sw80fkrwizr2qlusb3qeugep8ccdlx0ale9movcdp Usqp Cau

Https Encrypted Tbn0 Gstatic Com Images Q Tbn 3aand9gcrrycqrez Sw80fkrwizr2qlusb3qeugep8ccdlx0ale9movcdp Usqp Cau

Source : pinterest.com